v2105sp1版本更新說明
PaaS平臺能力優化
業務對象支持批量增加和刪除跟進人,同時增加“跟進人”字段,與跟進人組件同步,并支持篩選;使用前請先在對象管理中,將“跟進人”字段及“變更跟進人”按鈕的權限進行勾選
注:該功能需要一定時間才能全部升級完畢,因此需求盡早開通的企業請提申請優先升級,敬請諒解!



對象數據列表中的附件字段支持直接預覽或下載

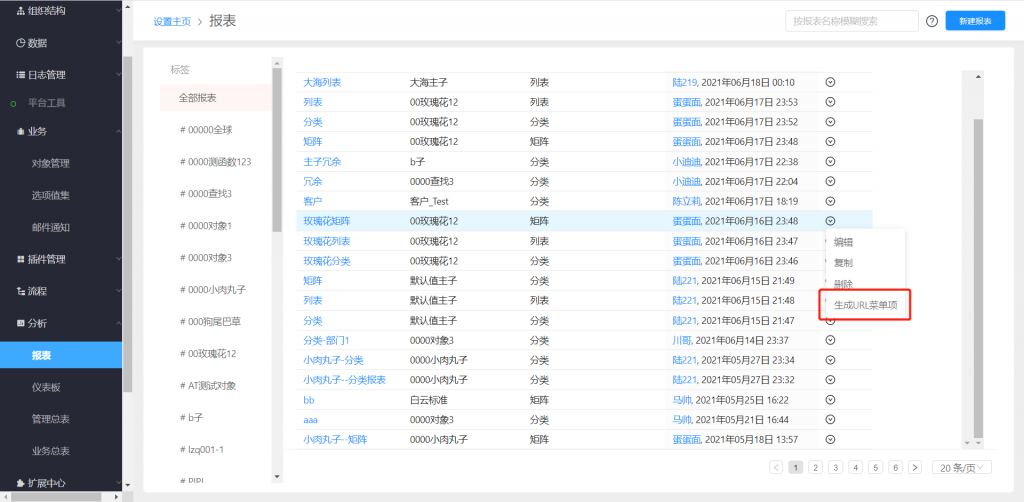
報表可以創建菜單項,支持在前臺快速訪問


OpenAPI在功能開通后,用戶可以在后臺自行創建連接,生成密鑰


PaaS平臺其他能力優化
- 主子對象的關聯創建可解綁,適用于客戶分級實施的需求場景
- 列表和相關列表等字段的權限增加了后端控制,提升了數據安全性
- 移動端列表頁的默認排序,會按照視圖配置的排序字段進行
- 儀表板篩選器組件可使用冗余字段;單個選項卡時會隱藏,提高了頁面使用率
- 優化了云表單的填寫頁面,字段查看更清晰
- 列表頁我關注的視圖,最多可存儲100條數據
- 主子對象在創建時,會實時計算主對象的累計匯總字段值,保證驗證規則生效
- 手機端在預覽加密的pdf文件時,可正常輸入密碼打開
- 報表分組顯示上限的優化,會按照實際有數據的結果計算10000格上限
- web端在新建或編輯數據時,人員選擇替換為新的選人組件,可按組織部門選擇,多選支持收藏夾選擇
京公網安備 11010802037035號